VOC AI 买家流失分析应用专为数码家电企业打造,通过AI大模型深度挖掘用户会话、评论及行为数据,精准识别高流失风险客户,并定位流失原因:包括产品质量缺陷、售后响应延迟、竞品价格冲击等。系统自动输出可落地的挽回策略,迅速同步到店铺运营团队。
使用说明: 需要购买VOC AI产品流量,再开通专属类目场景应用。
- 核心功能:三步打通转化闭环
- 客户案例1
- 客户案例2
- 福利升级NEW
- 立即咨询
流量暴涨、咨询满负荷,转化却停滞不前?客服反复沟通,买家仍以 “再考虑” 告终?无需盲目试错,晓多 VOC AI 流失分析以数据驱动破解增长困局,某美妆 TOP 品牌半个月实现转化率从 19% 飙升至 28%,客服跟单成功率翻倍,用真实业绩证明其核心价值。
核心功能:三步打通转化闭环
1. 多维流失识别,不遗漏潜在客户
全面覆盖进线未成交、未付款、退货、咨询与下单商品不一致等核心场景,自定义流失判定规则,精准捕捉每一个可能流失的转化机会,从源头减少客户流失。
2. 智能标签分析,锁定流失关键
结合商品、平台、用户行为多维度数据,自动识别 “价格敏感”“库存不足”“功效顾虑”“客服未跟单” 等高频流失原因,无需人工筛选,直接呈现可落地的问题结论。
3. 数据可视化看板,决策一目了然
通过全景化数据看板,直观展示商品流失排名、客服流失排名等核心指标,复杂数据转化为清晰图表,让运营、管理团队快速定位问题短板,精准发力。
客户案例1
客户背景🤷♂️
国内美妆护肤类目头部品牌,主营面膜、修护精华等核心产品,深耕天猫、淘宝主流电商平台,具备充足流量基础,但转化效率亟待提升。
核心痛点☹️
美妆护肤行业竞争激烈,用户对功效、安全性和优惠活动的关注度高,决策周期长。
热卖品类流失率居高不下,主要集中在三大场景:功效与肤质匹配存疑导致咨询后弃购、促销活动信息传达模糊引发用户犹豫、客服跟进不及时错失转化时机。
传统依靠人工客服记录和抽检的方式,既耗时耗力,又难以全面还原买家的真实流失原因,优化方向盲目。
解决方案🤓
1. 客户的质检主管引入晓多VOC AI流失分析,对重点护肤品类进行专项分析:
✅ 设置流失逻辑,涵盖“未付款”“取消订单”“咨询与下单商品不一致”等场景;
✅ 引入标签体系,自动打标“功效存疑”“价格顾虑”“活动规则不清”“客服跟进不足”等常见原因;
✅ 在数据看板上实时输出商品与客服维度的流失排名,并提供AI改善建议。


2. 分析结果显示:某款联名礼盒的面膜套组流失量居首。
除自然流失外,买家对“敏感肌是否适用”的功效顾虑,以及客服未能及时解释赠品/活动规则,是导致流失的关键因素;
其次,部分买家对价格较为敏感,在促销信息传达不到位时容易放弃购买。
客服主管据此安排了专项培训:
聚焦客服对“成分功效解释”“活动权益说明”的专业性提升;
强化客服的跟单意识与二次触达话术。
实战成果✌️
1. 核心产品转化率
从19%提升至28%,半个月实现 9 个百分点的跨越式增长。
2. 客服效能
跟单成功率翻倍,沟通转化效率显著提升。
3. 运营效率
告别盲目试错,精准定位优化方向,人力成本降低 30% 以上。
客户案例2
客户背景🤷♂️
国内女性服装类目头部品牌,主打内衣、防晒衣等核心品类,深耕淘宝平台。夏季聚焦防晒衣系列营销,坐拥高流量优势,但身处激烈的市场竞争中,转化效能亟待突破。
核心痛点☹️
1. 旺季转化承压
夏季是防晒衣销售黄金期,平台流量充沛,但成交转化远未达预期,品类流失率居高不下,错失旺季增长红利。
2. 流失原因模糊
品牌亟需挖掘防晒衣类商品的核心流失诱因,以此优化客服沟通策略与商品配置逻辑,但缺乏精准的分析抓手。
3. 传统分析低效
依赖人工复盘的传统模式,不仅耗时耗力,更缺乏标准化的流失识别逻辑与问题聚焦方法,难以支撑精细化运营决策。
解决方案🤓
1. 客户的质检主管通过晓多VOC AI,对淘宝平台的【防晒衣】系列进行专项流失分析
✅设置流失判定逻辑,涵盖未付款、退单、商品不一致等情况;
✅结合典型流失标签(库存不足、尺码顾虑、客服未跟单等),对淘宝平台下【防晒衣】商品维度的会话进行自动打标与分析
✅在数据看板中查看商品流失排名、客服流失排名,实现问题集中定位
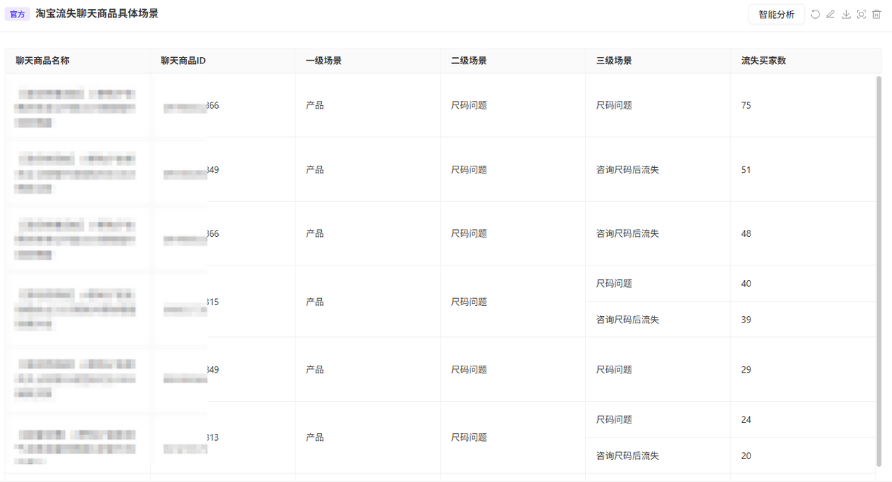
2. 分析发现:
某款情侣防晒衣为淘宝平台的流失量第一
除自然流失外,客服未主动跟进导致的机会流失最为严重,其次为尺码推荐不到位引发的犹豫与放弃购买
客服主管针对表现滞后的个别售前客服开展专项培训,聚焦跟单话术和尺码推荐技巧

实战成果✌️
优化后半个月内,该情侣防晒衣成交转化率从29%提升至35%,客户咨询停留时长延长,客服互动转化效率大幅改善。
福利升级NEW
别再让“我再考虑一下”成为客户的最后一句话。别再靠猜,别再错过每一单!用VOC流失分析,一键查清客户为啥不买,让每一次咨询都更有结果!
我们提供AI顾客流失分析包,29.9元仅需一杯咖啡的钱,就能诊断一次店铺的健康度,让你花小钱知道哪些是利润流失的原因。
